| 產品描述 | 技術參數 | 包裝參數 | 技術文檔 | |||
|
【產品名稱】IL-U智能起重吊鉤 【產品品牌】龍升 【產品規格】IL02-U載重2噸、IL05-U載重5噸、IL10-U載重10噸、IL10-UR載重10噸、IL10-UP載重10噸、IL10-URP載重10噸、IL20-U載重20噸、IL20-UP載重20噸、IL20-URP載重20噸 【產品質保】質保1年 【應用領域】廣泛應用于在港口碼頭吊裝,鋼廠煉鋼爐安全作業吊裝、風力發電組件吊裝、起重機械高空安全作業吊裝、海洋平臺吊裝,隨車吊智能化作業,特種儲罐氣車輛吊裝、核能工業智能安全化吊裝,酒廠自動化吊裝生產線等領域。
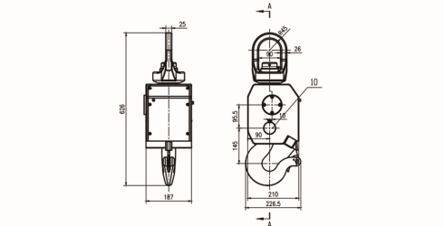
IL-U智能起重吊鉤質保 龍升IL-U智能起重吊鉤屬于煙臺開發區龍海起重工具有限公司旗下品牌產品,產品保質周期為1年(易損件除外),在產品保質周期內正常使用的情況下出現的質量問題,我公司可提供免費維修、免費更換配件、如因質量問題維修或更換配件仍然不能達到正常使用,可免費更換主機(產品附件以及易損件除外)由此產生的運輸,維修費用由我公司承擔。非質量問題我公司將收費處理,所產生的運輸、維修等費用由客戶承擔。 注意:不論產品出現上述那種問題,客戶需要提供清楚的故障視頻以及產品故障圖片,并說明使用方式。 IL-U智能起重吊鉤特點 IL-U智能起重吊鉤,配備遙控器,可以遠距離操作吊鉤開閉;并配備運控平臺,可實時采集吊鉤的運行狀態。 IL-U智能起重吊鉤,可自動定位,吊鉤下部安裝有磁鐵,當吊鉤靠近吊索時,吸引并正確定位吊索,按下遙控按鈕,即可閉合吊鉤。 IL-U智能起重吊鉤,3小時即可充滿電,滿電工作時間可達240小時。 配備多種安全設置: 智能防墜:空中誤觸開鉤指令自動失效。 過載保護:超載即時報警并鎖定起吊。 雙模鎖止:彈簧鎖舌(常規作業)、固定鎖舌(海上/極端環境)。 IL-U智能起重吊鉤圖片
|
||||||
|
相關產品
|











